caishunfeng commented on issue #7788: URL: https://github.com/apache/dolphinscheduler/issues/7788#issuecomment-1006691975
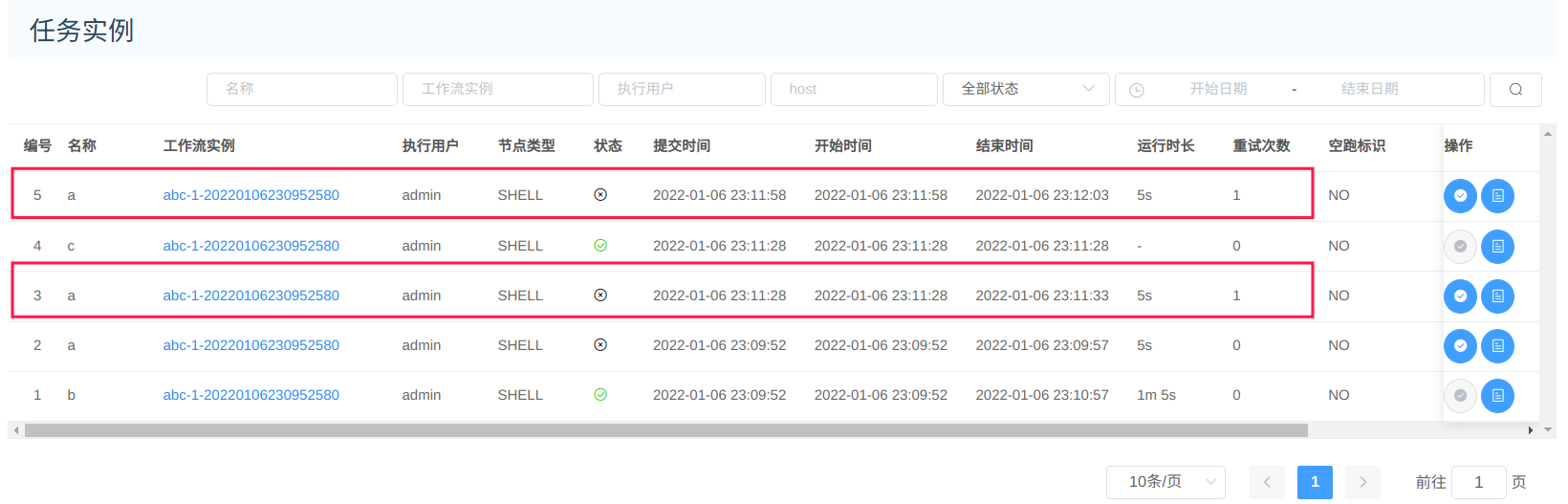
    When task A fail and run `WorkflowExecuteThread.taskFinished`, it will add retry task into standby queue, which will submit by `WorkflowExecuteThread.submitPostNode` and `StateWheelExecuteThread.checkTask4Retry`; When I add sleep 30s in `submitTaskInstanceToDB` like Figure 4, it will increase the probability of repeated retries. In this way, retry task A in standby list will be submit by `WorkflowExecuteThread.submitPostNode` because run task c, and then, `StateWheelExecuteThread.checkTask4Retry` add it into standby list and submit again. -- This is an automated message from the Apache Git Service. To respond to the message, please log on to GitHub and use the URL above to go to the specific comment. To unsubscribe, e-mail: [email protected] For queries about this service, please contact Infrastructure at: [email protected]
